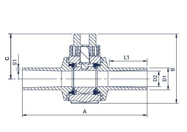
IBECO PE kulventil
PE 100RC kulventiler med PE ändar.
Fördelar
- Fullt genomlopp
- Roterar 90° från stängd till öppen
- Kan arbeta i delvis öppet läge
Dokument och länkar
PE100RC kulventiler
PE100RC, SDR11; vatten PN16, gas PN10
|
Art.nr
|
RSK nr.
|
För rör YDmm
|
Bmm
|
Amm
|
Cmm
|
L1mm
|
S1mm
|
GenomloppD2 (mm)
|
Viktkg
|
Varukorg
|
|---|---|---|---|---|---|---|---|---|---|---|
|
BVS02511
|
5496385
|
25
|
133
|
251
|
98
|
57
|
3
|
26
|
0,6
|
|
|
BVS03211
|
5496386
|
32
|
133
|
251
|
98
|
59
|
3
|
26
|
0,62
|
|
|
BVS04011
|
5496387
|
40
|
133
|
252
|
98
|
61
|
3,7
|
26
|
0,67
|
|
|
BVS05011
|
5496388
|
50
|
202
|
362
|
134
|
108
|
4,6
|
47
|
1,82
|
|
|
BVS06311
|
5496389
|
63
|
202
|
338
|
134
|
99
|
5,8
|
47
|
1,89
|
|
|
BVS07511
|
5496390
|
75
|
202
|
358
|
134
|
154
|
6,8
|
47
|
2,02
|
|
|
BVS09011
|
5496393
|
90
|
275
|
502
|
170
|
154
|
8,2
|
93
|
4,8
|
|
|
BVS11011
|
5496394
|
110
|
275
|
505
|
170
|
158
|
10
|
93
|
5
|
|
|
BVS12511
|
5496395
|
125
|
275
|
505
|
170
|
158
|
11,4
|
93
|
5,37
|
|
|
BVR16011*
|
5496396
|
160
|
275
|
506
|
170
|
162
|
14,6
|
93
|
6,9
|
|
|
BVS16011
|
5496397
|
160
|
400
|
610
|
225
|
155
|
14,6
|
150
|
23,9
|
|
|
BVR18011*
|
5496398
|
180
|
275
|
486
|
170
|
148
|
16,4
|
93
|
7,5
|
|
|
BVS18011
|
5496399
|
180
|
400
|
610
|
225
|
155
|
16,4
|
150
|
24,6
|
|
|
BVR20011*
|
5496400
|
200
|
275
|
524
|
170
|
167
|
18,2
|
93
|
7,8
|
|
|
BVS20011
|
5496401
|
200
|
400
|
610
|
225
|
155
|
18,2
|
150
|
25,2
|
|
|
BVS22511
|
5496402
|
225
|
400
|
610
|
225
|
155
|
20,5
|
150
|
25,4
|
|
|
BVR25011*
|
5496403
|
250
|
400
|
610
|
225
|
155
|
22,7
|
150
|
27
|
|
|
BVR28011*
|
5496404
|
280
|
400
|
610
|
225
|
155
|
25,4
|
150
|
29
|
|
|
BVR31511*
|
5496405
|
315
|
400
|
6140
|
225
|
155
|
28,6
|
150
|
31
|
|
* Reducerat genomlopp
På förfrågan:
- Andra dimensioner
- Andra SDR-klasser
Applikationer:
- Vatten
- Avlopp
- Gas
Godkännande:
Certifierad enl. EN120201-4 för användning på tryckavloppssystem
Ventilerna kan användas i alla typer av PE-rörledningar där mediet är vätska eller gas. Ventilens maximala arbetstryck motsvarar rörledningens arbetstryck. Ventilen är helt tillverkad av PE 100RC, den innehåller inga stålelement. Ventilen öppnas eller stängs genom att vrida ventilhuvudet 90°. Ventilen kan arbeta i ett delvis öppet läge. Godkänd för användning på tryckavloppssystem.